Product
product
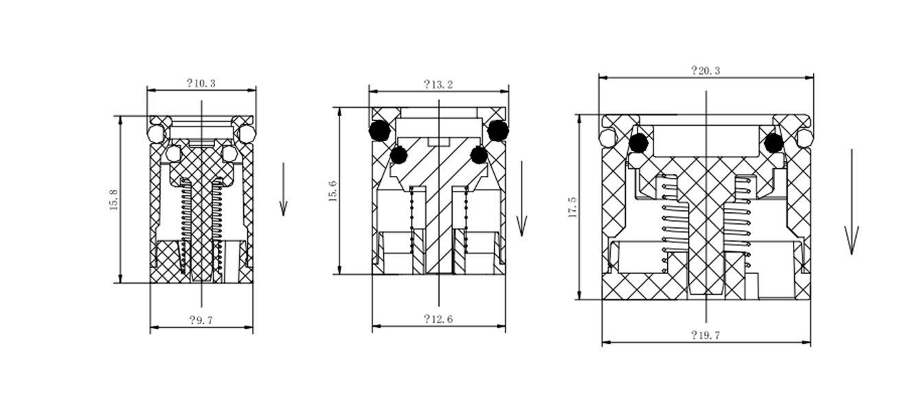
单向阀(止回阀)
1It is used for dishwashers, Water dispenser, etc. The waterway can only be connected in the direction of the arrow.
2The installation size has the following specifications: DN10: the installation inner hole is Ø 10; DN13: The installation inner hole is Ø 13; DN20: Installation inner hole is DN20
Physical Dimension
img